Описание
Характеристики
Отзывы
Описание
EC центробежный вентилятор - RadiCal назад загнутые лопатки, одностороннее всасывание
Технические характеристики

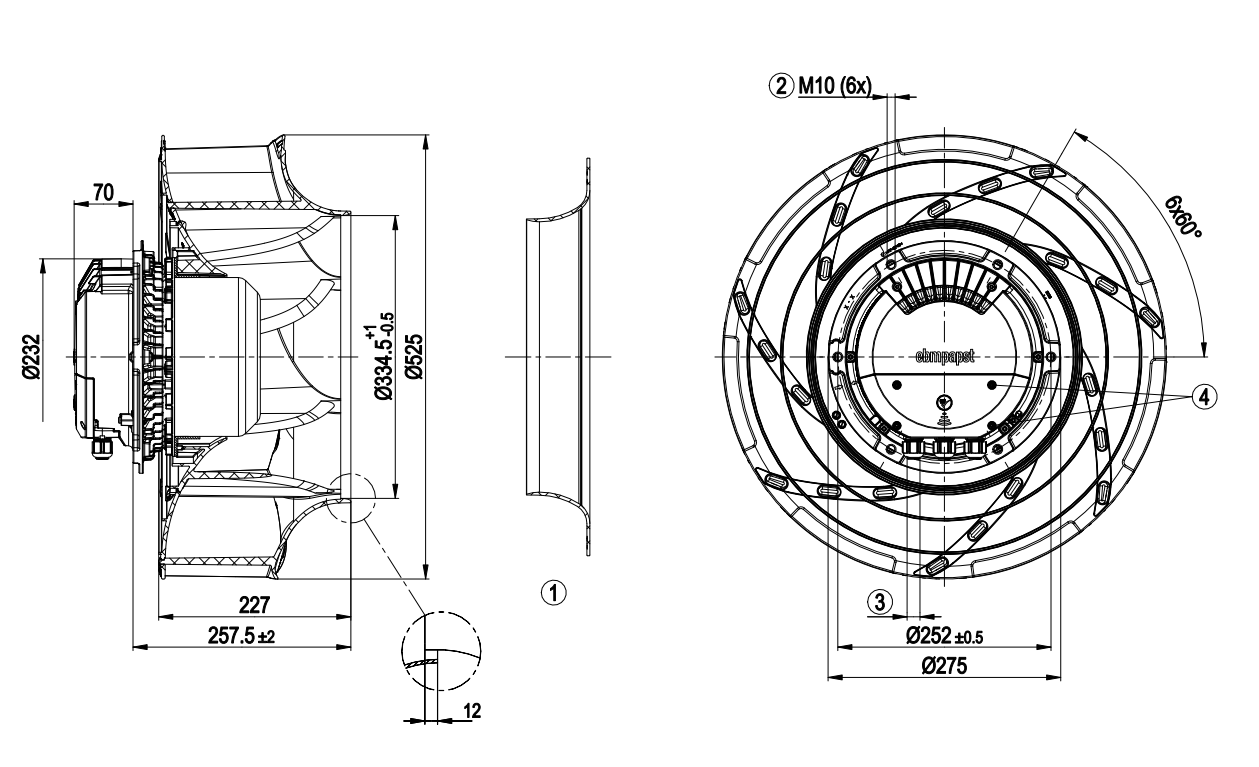
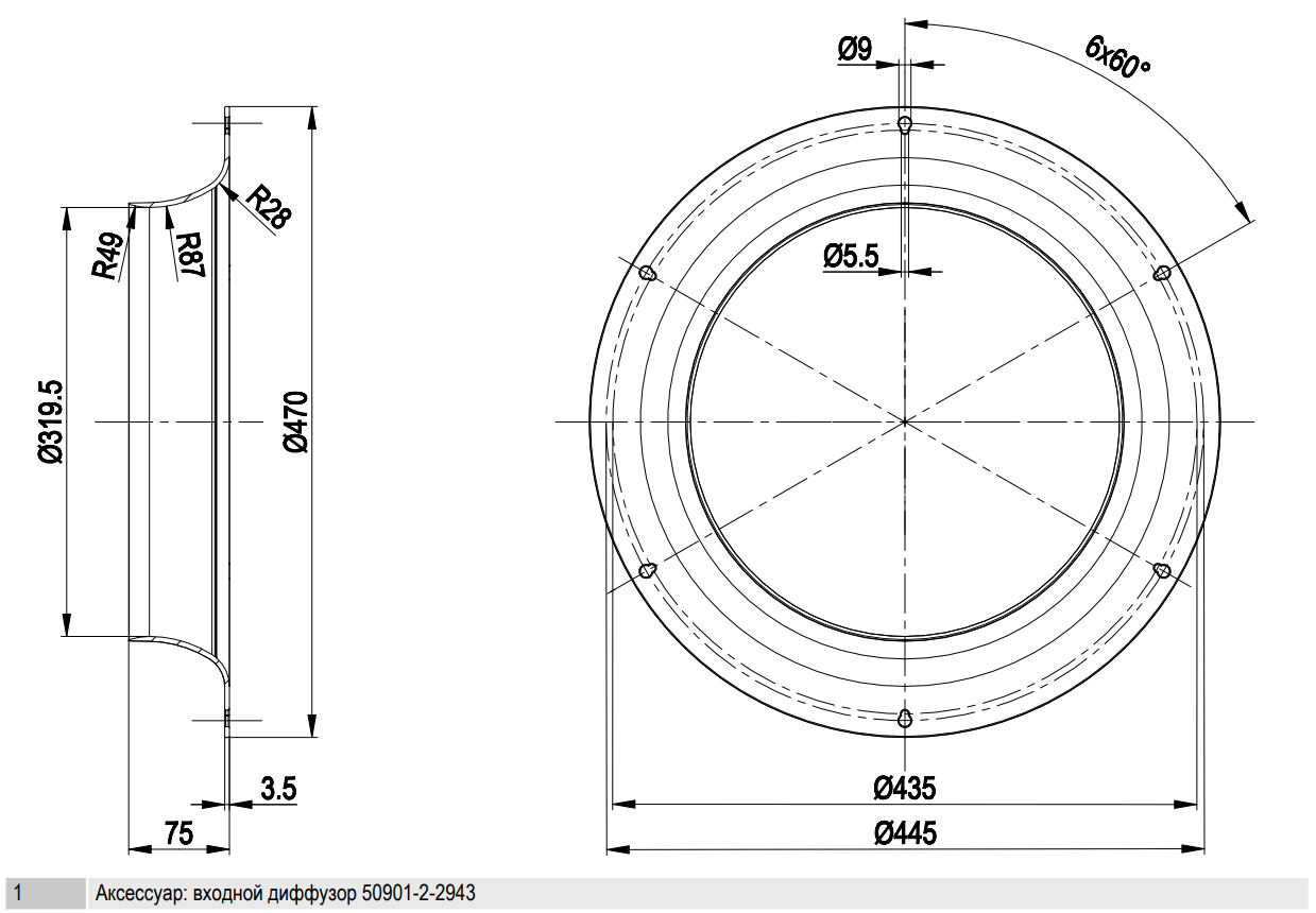
Габаритно-присоединительные размеры (чертеж)


Аэродинамические характеристики


Схема подключения:


Характеристики
Мощность, Вт
3600
Напряжение, В
400
Кол-во фаз
3
Температура окружающей среды
-40...+40°C
Степень защиты, IP
55
Производительность, м3/ч
7855
Типоразмер
500 мм
Частота, Гц
50
Скорость вращения, об/мин
1900
Ток,А
5.5
Отзывы
Отзывов еще никто не оставлял
Ранее просмотренные товары